快速链接到星空(中国)一站式服务官网其他国家/地区的网站。close

星空(中国)一站式服务官网全球

首页  >  产品资讯  >  产品共通信息  >  常见问题一览表  >  技术指南  >  安全产品

安全功能

安全功能

安全相关部分的设计步骤

风险评估

机械有许多危险源,作业者靠近危险源会发生危险状况。放任此状态不管会使造成伤害的可能性变大。所以在设计阶段讨论机械的安全性时,必须在事前把握机械自身所具有的危险情况。像这样把握危险程度称为风险评估(Risk Assessment)。

根据EN1050的风险评估
风险评估首先要根据EN1050对机械全体潜在发生的危险作系统的检查,以降低危险。

1.『机械的使用状况范围的决定』

Determination of the pmit of Machinery
机械的使用状况范围的决定是在进行风险核定时要考虑以下项目。

机械耐用期间对各阶段的要求事项

确定机械的正确使用方法和动作及预想的误操作和误动作的机械界定。

操作者的性别、年龄、使用能力和体能(如视觉/听觉障碍,身高、体力等)等的限制,确定机械使用状况的范围。

预想的使用者的训练、经验、能力的程度。

机械给人带来危险的可能性。

发生了可预见的机械危险时,机械给人带来危险的可能性。

2.『危险确认』

Harzard Identification

确认机械附带的所有危险状态及危险情况。如

机械危险:切断、卷入、挤压等危险

电气危险:与带电部分接触、静电现象等

高温危险:与高温部分接触、高低温作业环境带来的健康危害等,引出预测由机械产生的危险。

3.『风险推定』

Risk Estimation

确认了机械危险状态及危险情况后,决定风险要素,根据可『引发危害的程度』和『概率』推定危险。

4.风险评价

Risk Evaluation

推定风险后,评价该风险,确定是否有必要降低风险。

必须降低风险时,实施设计变更、安全防护措施等安全对策。

5.达到安全性的反复处理

如下图所示,反复实施第一项到第四项所说的步骤,降低风险,实施安全对策。

6.降低风险目标的达成

为了达到安全性而反复实施处理降低风险,但当如下的条件被确认后,降低风险处理也就结束了。

通过设计上的对策,变更使用危险性少的材料或设置安全防护来降低风险。

安全防护设置确认使用时充分防护。

安全防护是作业者不能无效化且不能回避的结构。

使用机械时向用户提示充分的信息。

机械的运转过程中,万一发生误操作也不会引发重大危险。

安全作业步骤规定训练要件。

向用户展示充分的残存风险的信息。

详细规定残存风险的保护工具的必要性及训练要件。

追加预防措施充分。

安全功能

安全等级的核定

●基于EN954-1的安全等级

根据EN1050评价机械风险的大小,实施降低风险的对策,降低风险的对策有设计及安装安全装置的方法。首先是是采取设计对策,根据右表等级核定表预测的伤害程度(从轻伤到重伤)和发生该伤害的概率(几乎没有到经常发生)这两个因素,决定应该选择的等级。

控制系统的安全相关部分安全等级,在一台机械的控制电路整体中判定为一个等级的情况时,也可以对每部分进行核定。

S:伤害程度

(S:Severity of Injury)

S1:轻伤(擦伤,碰伤等)

S2:重伤(手脚切断、死亡等)

对因控制系统的安全性相关部分故障造成的伤害进行风险评价,应用最严重的伤害情况考虑,轻伤选择S1,重伤选择S2。

F:引起危险的程度

(F:Frequency and/or Exposure Time to the Hazard)

F1:偶然发生时间短

F2:频繁发生时间长

例如,作业者为安装/拆除工作零件而向周期运转的机械的工具和工具间必须放入手时选择F2,基本不需接近机械时选择F1。

P:避免危险的程度

(P:Possibipty of Avoiding the Hazard)

P1:可能

P2:不可避免

对参数P的选择有影响的例子如下。

是否在监视下运转。

是否有熟练工人负责运转。

机械是否伴随危险而高速运转。

是否有避免危险的可能性。

系统是否有安全经验。

发生了某种危险情况后,完全没有逃避危险的机会时选P2,有机会时选P1。

安全功能

危险评价的核定事例

<保护门入口>

适用安全等级1。

<冲压机械运转部分>安全功能

安全等级,运行时为4。

 安全功能

●基于EN954-1的安全等级的核定

根据等级核定表决定应选择的安全等级后,电路的设计必须满足如下表各等级要求的安全功能。

安全等级有B、1、2、3、4,数字越大,电路构成的安全功能也就越高。发生重大灾害可能性高的机械类其安全相关部分应由属于数字大的安全等级的控制零件和系统构成。

作为确保安全的原则,安全等级2~4一般由包含多个安全功能零件的子系统构成。

换言之,虽然进行前项的风险核定,但在设计机械安全相关部分时,与要降低的风险程度相比,安全相关部分的安全功能可以有一定程度的超出。

 

等级

要求事项概要

确保安全 性的原则

B

控制系统的安全性相关部分应根据相关标准进行设计、选择及组装,使其最低可以承受以下的使用环境压力。

☆耐使用环境应力举例如下。

●由切断容量及其频度决定的可靠性等的预期动作应力。

●选择耐使用环境的材料。

●机械振动、外部磁场、停电、外部干扰之类的外部原因。

●构成部件符合相应标准。

因此,等级B部分不适用于特别安全对策,故障时有可能导致安全功能降低。

 

安全功能

1

适用等级B及以下要求事项。

属于等级1的控制系统的安全性相关部分应当是使用经过充分研究的部件和充分研究后的安全原理进行设计和组装的

☆充分研究的部件是以下部件。

●过去在类似用途上被广泛使用的部件。

●适合安全性相关用途的使用,且可靠性已经过验证。

☆充分研究的安全原理是类似下面所举的例子。

●短路时的熔断器保护。

●部件尺寸有余量,通过降额使用等降低故障的发生概率。

●故障时电路开路、切断电源等故障模式的定义。

●故障的早期发现。

●设备接地等的故障发生后的对策。

所以,等级1的故障发生概率比等级B低,但故障时有可能导致安全功能下降。

 

等级

要求事项概要

确保安全 性的原则

2

等级B的要求事项及添加充分研究的安全原理的使用,适用以下的要求事项。属于等级2的控制系统的安全性相关部分的安全功能,应设计成由机械控制系统以适当的间隔时间进行检查。

☆由机械控制系统以适当的间隔进行检查的设计,举例如下。

●机械启动时和危险状态发生之前。

●如果风险核定和运转种类的检查是必要的,运转中定期进行。

检查的开始自动开始、手动都可以,但安全功能的检查是以下内容中任意一个。

●检测不出故障时,可以运转。

●检测出故障时,启动适当的控制操作并输出,根据此输出构成安全状态。不能构成安全状态时(例如最终切换装置内的接点熔接),应该输出危险警报。检测出故障后,安全状态需要维持到故障消失。

所以等级2有可能在故障发生时,检查与检查之间失去安全功能。

 

安全功能

3

等级B及添加充分研究的安全原理的使用,适用以下要求事项。

属于等级3的控制系统的安全性相关部分应设计成,无论在哪个安全性相关部分中发生单独的故障,都不会导致安全功能下降。单独的故障尽可能在以下要求安全功能时或之前检测出来。

☆设计成单独故障不会导致安全功能下降,举例如下。

●应当具备冗余性多样性。

●安全功能的自动检查。

所以多个故障一起发生时,安全功能有可能不启动。

4

等级B及添加充分研究的安全原理的使用,适用以下的要求事项。属于等级4的控制系统的安全性相关部分如下设计。

●任何安全性相关部分中发生的单独故障不会导致安全功能下降。

●在后面的安全功能运行之前检测出单独故障。

●即使未能检出,故障的累积也不会导致安全功能的下降。

 

安全等级的符合确认

●安全等级的符合确认

为了根据EN1050检查和降低机械整体潜在的危险,选定基于EN954-1的安全相关部分的安全等级。

然后对机械整体安全中安全相关部分是否符合要求事项的确认进行分析和试验。

分析根据基于EN954-1的设计标准和预想的故障列表进行,但是,例如以下的故障,则作为「故障除外事项」的一例排除在外。

①具有强制断开动作机构的安全开关的NC接点不分断。

②具有强制导向接点结构的安全继电器的NC接点及NO接点同时处于闭合状态。

③电缆导管等确实保护的固定电缆由于外部冲击造成线间短路。

④连接部分由绝缘套管等确实覆安全功能盖的邻接的端子间短路。

 

互锁装置

在机械式.电气式等装置中,例如以在防护装置未关闭的状态下防止机械运转为目的的装置称为互锁装置。 在互锁的相关规定中,关于防护装置的规定在EN953中、关于随付在防护装置上的连动装置的规定在EN1088中、处理从连动装置发出的信号使机械停止的方法的规定在EN954-1中分别进行了规定。在此,根据EN1088,将与安全限位开关和安全门开关之类的防护装置连动的互锁零件及其装置的要点进行说明。

互锁装置的作用

需要安全性的机械设备如图1所示,由「控制部」及「动作部」构成。此外,「动力控制要素」使控制部和动作部产生关联,「机械可动部」通过防护装置进行防护量实施互锁。只有收到从互锁装置发出的安全确认信号,从控制部发出的机械运转指令后,才会向动作控制要素供给电能量。 如下图所示,互锁装置的作用是将确认安全后的结果传输给动力控制要素。在时序装置不会对互锁装置产生不良影响的条件下,安全信号也会传输给时序装置。也就是说,互锁装置(安全相关部分)与时序装置(非安全相关部分)是分别独立的关系。在国际安全标准中,控制部由安全相关部分和非安全相关部分组成,在结构上,必须使非安全相关部分无论在正常时和异常时都不会对安全相关部分产生影响。

安全功能

 

互锁装置的分类

互锁装置根据互锁方式不同,分类如下。

1. 互锁方式

●控制互锁方式

通过将互锁装置发出的停止信号输入电磁继电器等控制系统,使控制系统切断或分离向机械可动部分供应能量的方式。

●动力互锁方式

通过互锁装置发出的停止信号,直接切断或分离向机械可动部分供应能量的方式。

2. 防护装置锁定方式

●非上锁方式

始终能开关防护装置,在开状态下输出停止信号。

●上锁方式

①无条件锁定解除方式

操作人员任何时候都能解除防护锁,但锁定解除时间应当比危险性消除时间更长。

②有条件锁定解除方式

由于一定时限后或危险性消失(旋转零检测等),在满足一定条件后机械的危险状态消除后,能够解除防护装置锁定的方式。

3. 上锁解锁方式

根据以防护装置上锁解锁为目的的操作机构不同,其分类如下。

●弹簧上锁动力解锁方式(在星空(中国)一站式服务官网,被称为机械锁定/电磁解锁方式)。

●动力上锁弹簧解锁方式(在星空(中国)一站式服务官网,被称为电磁锁定/机械解锁方式)。

●动力上锁动力解锁方式

注1. 在特定用途中,若能保证同等水平的安全性,也可使用「动力上锁、弹簧解锁」或「动力上锁、动力解锁」,但以锁定为目的的零件(锁簧)原则上必须采用「弹簧上锁动力解锁」方式。

 

互锁装置的设计

使用安全限位开关和安全门开关设计互锁装置时,应当考虑以下事项。

●使用机械位置检测开关时

①使用1个机械位置检测开关设计互锁装置时,必须使用正动作(强制断开动作机构)的开关。

②使用2个机械位置检测开关设计互锁装置时,通过使用负动作(非强制断开动作机构)和正动作(强制断开动作机构)的开关,以实现避免共同原因故障的设计。

注. 关于负动作和正动作,请参见57页。

●检测开关的安装

①可通过紧固拆卸工具进行。

②通过长孔进行的安装仅限初期调整时,调整后为了避免位置错误,使用销钉等进行定位,使其在更换时无须再调整。

③开关动作时的防护装置移动量应在不妨碍防护装置防护效果的范围内。

④机械的动作范围应为开关的规定动作范围。

⑤请不要将其用作机械制动器。

⑥安装在不会受外部损伤的场所,根据需要实施保护措施。

⑦应装于便于维护检查的位置。

●减少因共同原因引起的故障

开关冗余化时,使用负动作和正动作开关等,来作为避免因共同原因引起的故障。

 

互锁装置的选择

在选择互锁装置时,应全面考虑机械的使用条件及潜在危险性及评价对机械的接近停止时间及接近频度等后进行选择。

1. 停止时间及接近时间

操作员到机械的危险区域的到达时间(接近时间)比机械的停止时间快,必须选择锁定式互锁装置。

2. 接近频度(防护装置的开关频度)

①高频度开关时,在进行风险评价的基础上,尽量选择防护装置开闭影响较小的产品。

②在装入自动检测电路的互锁装置中,开关频度低的话功能确认的频度也会降低,故障未能检测的概率也增加了,所以请增加带条件的锁定解除等措施。

 

互锁装置的控制要件

关于与可动防护装置对应的互锁装置,需要满足以下的控制条件。[EN292-1]

①关闭可动防护装置,被防护装置包围的机械才可以运转。此外,无法通过关闭防护装置来使其自动开始运转。实际启动时,需在所有其他启动条件均具备后,按下启动按钮才能再次启动。 ②在被防护装置覆盖的机械运转过程中打开防护装置时,机械会输出停止信号。也就是说只要未检测到防护装置的关闭状态,就不允许机械运转。

安全功能

 

故障时的基本安全功能

电气设备的故障或混乱可能导致危险状态,损伤机械和加工中的加工件,此时需要采取适当方法,将危险发生概率控制在最小限度内。这里根据EN60204-1,对于在安全等级中使用时将故障时的风险控制在最小限度的主要方法,举列加以说明。

使用已认证的电路技术和部件

Use of Proven Circuit Techniques and Components

●应考虑到接地故障的基本电路结构。

以下所示的是有代表性的方法的例子。

基本电路结构

设计控制系统安全电路时,在结构上的主要注意点如下所示。

1.安全电路中的继电器接点,应为线圈无励磁时开路。

2.隔离变压器2次侧的安全电路其一侧的线需要接地。

3.安全电路中所有的线圈尽量靠近接地侧的线,并直接连接。

4.安全电路中必须安装熔断器。

全部含有上述项目的安全电路的基本结构如下图所示。

安全功能

在开关线A上出现了接地障碍时,熔断器将熔断,切断电路。

线圈B已接地,所以没有接地故障。

 

接地故障的事例

安全功能 安全电路没有接地时

安全功能

2个接地故障会绕开开关,机械可能会有突然启动而无法停止的危险。

安全功能 在安全电路2次侧变压器的中点接地时

安全功能

1个接地障碍会对继电器线圈施加50%的电压,可能使机械不能停止。

 

●应设计成在不通电时能立即停止控制电路和电力电路。

详细内容,请参见「(8)紧急停止」项。

 

●应使用已取得安全标准认定的零件。

所谓取得安全标准认定,是指取得T等第三方机关进行的认证。

 

●应使用切实进行开路动作的安全开关。

取得上述标准认证的产品上有安全功能 标志。

 

定期实施功能试验

Functional Tests

特别是与安全相关的功能试验的实施可自动通过控制系统进行,或依靠手动检查或试验进行。

实施时间为开始作业时及需要一定的时间。检测到故障时,在查明其原因前,不得再次启动机械。

 

应具备冗余性

Provisions of Redundancy

通过部分或整体配备的冗余性(重复性),可将电气电路的1个故障发生危险的概率控制在最小限度。

例如,由于2个以上的继电器或开关并列组合,即使1个发生故障,另一个也能代行整体功能的电路示例如下。

 安全功能

 

多样性的使用

Use of persity

由于在冗余性,同一种类的设备,在同样条件下,可能同时发生故障。因此,可通过使用各种动作原理的控制电路和各种类型的装置或零件,能降低共同障碍及故障的概率。

作为这种多样性的手段,有如下几种。

●将NC接点和NO接点组合,由保护门使其动作。

●将不同类型的控制零件用于电路中。

●将机电电路和电子电路组合,形成具有冗余性的结构。

 安全功能

 

在界面继电器电路中的自动检测

Self-Monitoring by Interface-Relay Circuit

将电力供应给使复位开关动作的接触器时,将自动检测是否有因界面用并列继电器电路引起的故障,无论有什么故障,启动动作都将停止,使电路切断,这是一种安全控制电路。

由继电器装置构成的自动检测电路示例

 安全功能

 

单一故障检测

Detection of Single-fault

编程序控制器一般用于安全相关功能的监视,或定期功能试验及备份。此外,可编程控制器需要使用IEC61131的合格品。

下列表示的是使用了可编程控制器的单一故障检测的基本电路的示例。

 

打开门后,开关S1会解除向可编程控制器输入的输入信号,切断电源。

在发生故障时,开关S2具有能使危险动作停止的安全保护功能。因此,开关S2必须是具有强制断开功能的安全开关。

要开关1个电力负载电路必须有1个电力接触器。

 安全功能

 

短路保护的检测Detection of Short-circuit

以动作中的控制回线为例,因夹握、高温冲击、酸等引起的损伤,可能会造成安全控制电路引线上的开路或短路。

安全控制电路上如果备有短路保护,就可以检测这些影响。要配备短路保护,以下是前提条件。

1) 必须是分别具有NC接点的2通道输入的安全控制电路。

2) 在各个通道间,应产生电位差。以下是具有短路保护功能的电路示例。

 安全功能

 

紧急停止Emergency Stop

紧急停在的要求事项如下所示。

●紧急停止装置

1. 紧急停止装置应配置在操作人员控制的各个控制站及需要紧急停止的其他操作站上。

2. 配置的位置,应是将机械分为多个紧急停止区域,操作人员能方便进行目测,方便接近,并且操作时不会发生危险的位置。

3. 紧急停止功能应优先于所有功能及所有模式下的操作。

4. 应备有停止级别0或级别1的停止功能。该级别的选择应根据机械的风险评估决定。

停止功能的分类

●停止级别0:(Stop Category 0)

通过立即直接切断机械驱动部的电源使其停止的级别(例如直接切断主电源)不控制的停止。

● 停止级别1:(Stop Category 1)

通过控制电路发出的运转停止指令,启动机械驱动部的停止功能(例如制动器),随后由停止供电(例如切断控制电路电源)的级别控制停止。

●停止级别2:(Stop Category 2)

保持向机械传动装置的驱动部供电的状态下停止。

5. 不应仅靠可编程控制器构成紧急停止电路。特别在停止级别0的紧急停止中,不能使用可编程控制器。

6. 有多个紧急停止装置时,在所有动作后的紧急停止设备复位之前,不应恢复电路。此外,也不能通过复位进行再启动。

7. 紧急停止装置请不要用作安全防护装置或安全设备类的代替手段。至多可以用作备份手段。

安全功能

 

●紧急停止设备

1. 形式

具有代表性的紧急停止设备有如下的形式

●按钮操作开关

●拉线操作开关

2. 要求事项

●电气接点应备有强制断开动作机构。

●备有保持机构,在手动复位之前,停止位置应被机械保持。

●操作部为红色,蘑菇型,背后的底色和周围应该为黄色。

●将金属线作为驱动器使用时,应注意以下事项。

1)在发出紧急停止信号之前的金属线变位量

2)最大变位量

3)金属线和最短位置上的机械之间的空间距离

4)操作中需要的力量

5)应当使用标志标记等使操作人员便于确认。

6)应在金属线断开、脱落时自动发出紧急停止信号。

 

存在检测

安全的基本点

安全的基本点可大致分为以下2类。

1.在确认安全之前,不启动机械设备。

2.检测到危险后停止机械。

为了确保安全,需要采取能检测作业者侵入危险区域及存在于危险区域,并能排除危险的安全策略。

 

安全要求事项

对于存在检测的要求事项,以下列各项在各国各种标准指南中都有规定。

「关于机械总括性安全标准的方针」:厚生劳动省附表2

对于机械的危险源的安全防护方法

若劳动者为了作业可能通过开口部分全身进入安全防护区域内时,应设置能检测该安全防护区域内劳动者的装置。

ANSI/RIA R15.06:美国机器人相关安全标准

第10.4.7项 启动及再启动

作业人员在安全防护区域内时,必须保护作业人员免受机器人/机器人系统错误启动/再启动而造成的伤害。(中略)将安全防护区域明确标识,无法进行单元启动及再启动时,需要有检测在不可见位置作业的人员的方法。值得推荐的方法是自动检测。(后略)

EN201:欧洲注射成型机安全标准

第5.3.1项

作业人员可能全身进入可动防护装置和金属零件部之间时,应设置检测作业人员存在的设备。

 

检测方式

检测存在的方式,大致可分为以下2种方式。

(1)反射光方式

特长:防护区域可比较自由的设定。

安全功能

(2)压力检测方式

特长:具有优秀的耐环境能力。

安全功能

 

安全距离

即使人体侵入安全区域,在到达危险部之前,机械必须停止。

在机械危险部和保护装置之间必须间隔的最短距离称为安全距离。

关于必须的安全距离的计算,请参见62页。

 

动作原理

安全垫

如图1所示,因作业人员脚部踏入,接触内部2块板,通过控制器进行检测,输出。

 安全功能

 

激光扫描仪

如图2所示,发射激光束,碰到周围物体后反射,由受光之前的时间来计算距离。

 安全功能

 

双手控制器

作为防止作业人员接近处于危险状态的危险区域的防止策略之一,可使用将双手操作装置设置在特定位置的方法。

作为双手操作装置的设计指南,可使用EN574(ISO13851),在此将根据EN574「双手操作设备功能方面设计的原则」,来说明设计双手操作设备时的主要安全要求事项。

(注)实际设计时,应根据本标准的详细规定进行设计。

1. 主要特性

根据应具备的特性,类型特性,可分为类型I、II及III,在此将就作为风险评估结果,使用安全等级3及4的类型III的主要特性进行记述如下。

(1)应通过双手使用同时启动。

(2)应通过2个输入信号来输出1个输出信号。

(3)一方或两方输入信号OFF时,输出信号也OFF。

(4)2输入信号OFF的条件应是输出信号的再启动条件。

(5)应在将两输入信号的时间差限制在0.5秒以下的基础上,能同时启动输出。

(6)偶发启动及无效化防止:请参见第2项。

2. 偶发启动及无效化防止

2.1单手进行的无效化防止

两个启动设备间,水平距离应相隔260mm以上(内尺寸)。(注)在两个启动设备间设置屏蔽物,但无效化防止还有其他 方法。

2.2通过单侧手腕的手和肘部的无效化防止

两个启动设备间,应水平距离550mm以上(内尺寸)。

(注)在两个启动设备间设置屏蔽物,但无效化防止还有其他方法。

2.3前腕及肘部的无效化防止

设置盖或框

2.4单手及身体其他部分的无效化防止

通过单手和身体其他部分(肘部、腰等)进行无效化的防止,应在距离地面或操作平面1100mm以上的地方设置启动装置。

(注)安全距离
启动装置和危险区域的安全距离,应根据EN999注意到手和手腕速度、启动装置的响应时间、机械的危险源的危险排除所需要的最长时间等,进行计算。

2.5代表性结构示例

按照从2.1项到2.3项的注意事项组成的双手操作设备的代表性结构示例如图1所示。

 安全功能

 

3. 连接电路示例

3.1使用安全继电器单元的连接电路示例

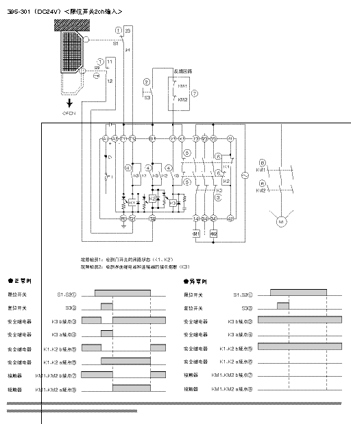
使用双手操作设备用安全继电器单元(G9SAT-H301)及按钮开关(A22)的连接电路示例如80页所示。

3.2使用安全控制器的连接电路示例

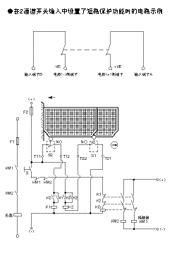
以下图所示的铆接机作为例,使用安全控制器(F3SX)、安全光幕(F3SN-A)及按钮开关(A22)的连接电路示例如81页所示。

安全功能

APP下载

星空(中国)一站式服务官网FA世界