Page top

D4CC

微型限位开关

D4CC

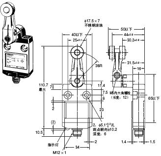
滚珠摆杆开关的型号仅16mm厚 (带接插件)

D4CC部分产品已于2023年3月底订货截止。

(单位:mm)

开关

限位开关

每个型号中的□被表示型号额定负载的代码替代。请参见“型号标准”。

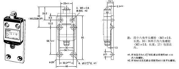
针状柱塞型
D4CC-□001

D4CC 外形尺寸 3

滚珠柱塞型
D4CC-□002

D4CC 外形尺寸 4

横向滚珠柱塞型
D4CC-□003

D4CC 外形尺寸 5

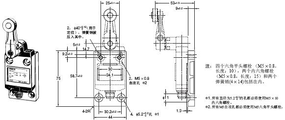
滚珠摆杆型
D4CC-□024

D4CC 外形尺寸 6

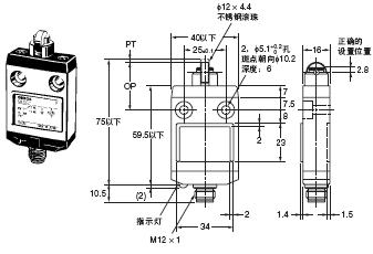
密封针状柱塞型
D4CC-□031

D4CC 外形尺寸 7

注: 上述各机型的外形尺寸中的未注公差为±0.4mm。

D4CC 外形尺寸 9

密封滚珠柱塞型
D4CC-□032

D4CC 外形尺寸 10

密封横向滚珠柱塞型
D4CC-□033

D4CC 外形尺寸 11

塑料触须
D4CC-□□50

D4CC 外形尺寸 12

*1. 除了平衡于轴↓方向之外,可以在任何方向操作。
 *2.操作的理想范围是杆尖和驱动杆长度的1/3之间。

中心滚珠摆杆型
D4CC-□□60

D4CC 外形尺寸 13

注: 上述各机型的外形尺寸中的未注公差为±0.4mm。

D4CC 外形尺寸 15

适用电缆

请从下列表格中所列的接插件插头中选择一种。

XS2F-D421-□80-F (对于DC)
XS2F-A421-□90-F (对于AC)

D4CC 外形尺寸 17

特殊安装板(限位开关不附属在安装板上。)

D4C-P001 (对于D4CC-□001)

D4CC 外形尺寸 19

D4C-P002 (对于D4CC-□002)

D4CC 外形尺寸 20

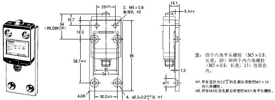
D4C-P020 (对于D4CC-□024)

D4CC 外形尺寸 21

注: 上述各机型的外形尺寸中的未注公差为±0.4mm。

备注

D4CC 外形尺寸 23

安装板和WL的安装间距没有差别。但是,连接有安装板的D4CC 的安装深度小于面板安装的WL的深度。

APP下载

星空(中国)一站式服务官网FA世界