Page top

ZE / ZV / ZV2 / XE / XV / XV2

封闭式开关

ZE / ZV / ZV2 / XE / XV / XV2

具有高断路容量和高耐用性的一般型 封闭式开关

ZE系列部分产品预定于2025年3月底订货截止。

(单位:mm)

侧面安装形状

柱塞型
ZE-Q-2
XE-Q-2

ZE / ZV / ZV2 / XE / XV / XV2 外形尺寸 3 ZE-Q-2_Dim

滚珠柱塞型
ZE-Q22-2
XE-Q22-2

ZE / ZV / ZV2 / XE / XV / XV2 外形尺寸 5 ZE-Q22-2_Dim

横向滚珠柱塞型
ZE-Q21-2
XE-Q21-2

ZE / ZV / ZV2 / XE / XV / XV2 外形尺寸 7 ZE-Q21-2_Dim

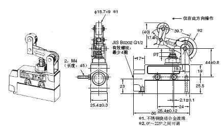
滚珠臂摆杆型
ZE-QA2-2
XE-QA2-2

ZE / ZV / ZV2 / XE / XV / XV2 外形尺寸 9 ZE-QA2-2_Dim

注1. 上述各机型的外形尺寸中的未注公差为±0.4mm。
2. 图形显示了安装有两个M4螺丝(长度:45)的开关。(提供螺丝。)

ZE / ZV / ZV2 / XE / XV / XV2 外形尺寸 11 ZE/ZV/ZV2/XE/XV/XV2_Operating characteristics1

单向动作滚珠臂摆杆型
ZE-QA277-2
XE-QA277-2

ZE / ZV / ZV2 / XE / XV / XV2 外形尺寸 13 ZE-QA277-2_Dim

密封柱塞型
ZE-N-2
XE-N-2

ZE / ZV / ZV2 / XE / XV / XV2 外形尺寸 15 ZE-N-2_Dim

密封滚珠柱塞型
ZE-N22-2

ZE / ZV / ZV2 / XE / XV / XV2 外形尺寸 17 ZE-N22-2_Dim

密封横向滚珠柱塞型
ZE-N21-2

ZE / ZV / ZV2 / XE / XV / XV2 外形尺寸 19 ZE-N21-2_Dim

密封滚珠臂摆杆型
ZE-NA2-2
XE-NA2-2

ZE / ZV / ZV2 / XE / XV / XV2 外形尺寸 21 ZE-NA2-2_Dim

单向动作密封滚珠臂摆杆型
ZE-NA277-2
XE-NA277-2

ZE / ZV / ZV2 / XE / XV / XV2 外形尺寸 23 ZE-NA277-2_Dim

注1. 上述各机型的外形尺寸中的未注公差为±0.4mm。
2. 图形显示了安装有两个M4螺丝(长度:45)的开关。(提供螺丝。)

ZE / ZV / ZV2 / XE / XV / XV2 外形尺寸 25 ZE/ZV/ZV2/XE/XV/XV2_Operating Characteristics2

底座安装/直角侧面安装型

这些图的顶部显示了底座安装型(ZV-□或XV-□),底部显示了直角侧面安装型(ZV2-□或XV2-□)。
底座安装型上的法兰以虚线显示。

柱塞型
ZV(2)-Q-2
XV(2)-Q-2

ZE / ZV / ZV2 / XE / XV / XV2 外形尺寸 29 ZV(2)-Q-2_Dim

滚珠柱塞型
ZV(2)-Q22-2
XV(2)-Q22-2

ZE / ZV / ZV2 / XE / XV / XV2 外形尺寸 31 ZV(2)Q22-2_Dim

横向滚珠柱塞型
ZV(2)-Q21-2
XV-Q21-2

ZE / ZV / ZV2 / XE / XV / XV2 外形尺寸 33 ZV(2)-Q21-2_Dim

滚珠臂摆杆型
ZV(2)-QA2-2
XV(2)-QA2-2

ZE / ZV / ZV2 / XE / XV / XV2 外形尺寸 35 ZV(2)-QA2-2_Dim

注: 上述各机型的外形尺寸中的未注公差为±0.4mm。

ZE / ZV / ZV2 / XE / XV / XV2 外形尺寸 37 ZE/ZV/ZV2/XE/XV/XV2_Operating characteristics3

注1. ZV2-Q-2和XV2-Q-2的OP为24.2 ±0.8mm。
2. ZV2-Q22-2和XV2-Q22-2的OP为35.7 ±1mm。
3. ZV2-Q21-2的OP为35.7 ±0.8mm。

单向动作滚珠臂摆杆型
ZV2-QA277-2

ZE / ZV / ZV2 / XE / XV / XV2 外形尺寸 40 ZV2-QA277-2_Dim

密封柱塞型
ZV(2)-N-2
XV(2)-N-2

ZE / ZV / ZV2 / XE / XV / XV2 外形尺寸 42 ZV(2)-N-2_Dim

密封滚珠柱塞型
ZV(2)-N22-2

ZE / ZV / ZV2 / XE / XV / XV2 外形尺寸 44 ZV(2)-N22-2_Dim

密封横向滚珠柱塞型
ZV(2)-N21-2

ZE / ZV / ZV2 / XE / XV / XV2 外形尺寸 46 ZV(2)-N21-2_Dim

注: 上述各机型的外形尺寸中的未注公差为±0.4mm。

ZE / ZV / ZV2 / XE / XV / XV2 外形尺寸 48 ZE/ZV/ZV2/XE/XV/XV2_Operating characteristics4

注1. ZV2-N-2和XV2-N-2的OP为31.9 ±0.8mm。
2. ZV2-N22-2 的OP为35.7 ±0.8mm。
3. ZV2-N21-2的OP为35.7 ±0.8mm。

密封滚珠臂摆杆型
ZV(2)-NA2-2
XV(2)-NA2-2

ZE / ZV / ZV2 / XE / XV / XV2 外形尺寸 51 ZV(2)-NA2-2_Dim

单向动作密封滚珠臂摆杆型
ZV(2)-NA277-2
XV2-NA277-2

ZE / ZV / ZV2 / XE / XV / XV2 外形尺寸 53 ZV(2)-NA277-2_Dim

注: 上述各机型的外形尺寸中的未注公差为±0.4mm。

ZE / ZV / ZV2 / XE / XV / XV2 外形尺寸 55 ZE/ZV/ZV2/XE/XV/XV2_Operating characteristics5
APP下载

星空(中国)一站式服务官网FA世界